> Сельское хозяйство, страница 7 > Кузница
Кузница
Кузница, мастерская для кузнечных поковочных работ по ремонту с.-х. машин, орудий и другие предметов, имеющих применение в с х-ве, и для ковки лошадей. К. могут составлять самостоятельную хоз. единицу в совхозах и колхозах, могут входить в состав рабочего двора (конный парк и так далее) или ветлечебницы (в районных центрах). В части работ по ковке лошадей К. должны находиться в ведении вет. надзора.

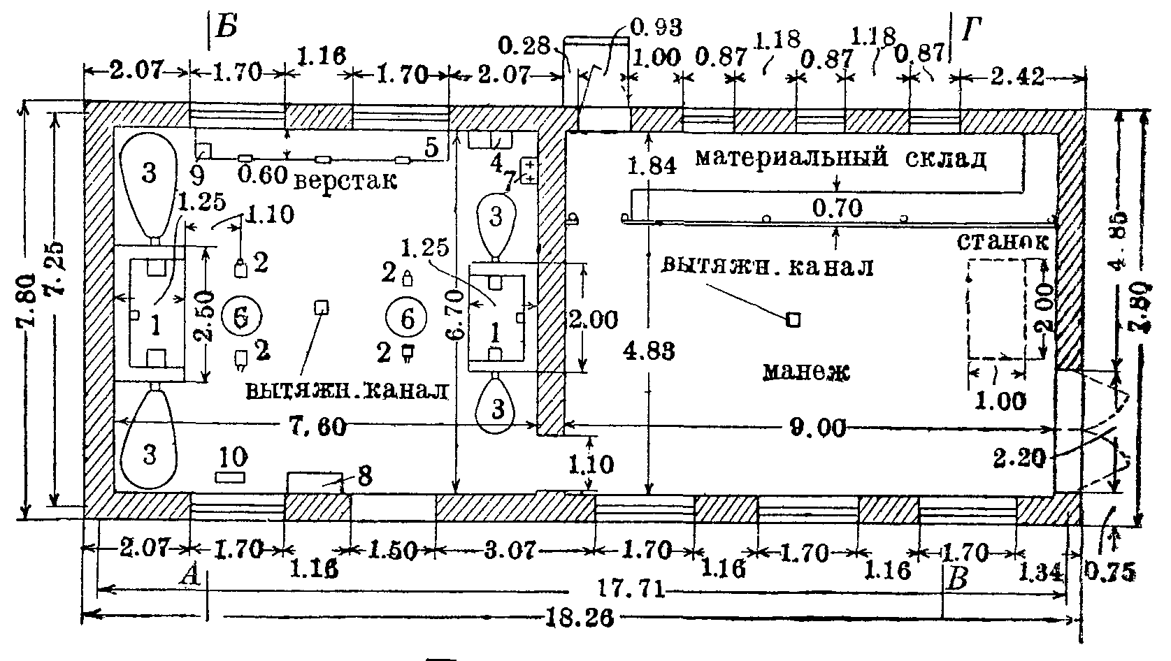
План кузницы.
— Размеры и состав помещений К. определяются числом горнов, количество которых зависит от потребности того или иного х-ва. Распространенным типом считается К. на 2 горна с манежем для ковки лошадей. В состав такой кузницы входят:
1) собственно К. (рис.), в которой размещаются горновое отделение (по 25 м2 на 1 горн), манеж для ковки лошадей (по 10—11 м2 на лошадь, считая 2 лошади на 1 горн; здесь же устанавливается один станок размером 2 х 1 метров для строптивых лошадей), материальная кладовая для угля, железа, запасного инструментария и инвентаря;
2) двор с коновязями (не менее чем на S—10 лошадей), рабочей дорожкой (с мягким грунтом) шириной 3 метров для проводки и пробежки лошадей и
3) навес.
— К. должна отвечать основным правилам охраны труда. Помещение горнового отделения, являющееся вредным цехом, должно быть достаточно просторным, светлым и иметь хорошую вентиляцию. Для тяги в горнах устраивают над их очагами колпаки; при наличии в х-ве электроэнергии ставят электрические вентиляторы. Стены К. делаются несгораемыми из местных стройматериалов [красный и силикатный кирпич (смотрите), глинолитка (смотрите), саман (смотрите), землебитка, бутовый камень и тому подобное]. Обычно над горновым помещением чердака не делают, а перекрытием служит кровля из невоспламеняющихся покровов (глиносолома, глинокамыш итак далее). К. располагается с подветренной стороны к жилым и животноводческим постройкам; окна манежа обращаются на С.-З. и С.-В. Участок под К. и двор огораживается.
Оборудование помещений К. составляют:
1) горны (кирпичные, чугунные);
2) раздувальные мехи (постоянного и прерывистого типа) или вентиляторы (центробежного и рутовского типа с горновыми трубами и фурмами);
3) наковальни на массивных стульях-пнях;
4) верстаки с прикрепленными к ним тисками;
5) шкафчики для инструмента;
6) кадки с водой;
7) ларь для суточного запаса угля (древесного или каменного);
8) ручное точило;
9) умывальник;
10) шкаф для спецодежды. И. Шуетров.
Лит.: Бекон П., Кузнечное дело, 3 изд., М.—Л., 1930; Леонтович А., Кузнечное дело, 3 изд., М.— Л., 1 932; Мейер Г., Кузнечное дело, М.—Л., 1 933; Порецкий С., Курс кузнечного дела, т. I, М.—Л., 19 32; Типовые проекты Гипросельхоза и Вниипсельхоса. М., 1 931, 1 932, 1 933.