> Техника, страница 93 > Шлюзы
Шлюзы
Шлюзы, гидротехнич. сооружения для преграждения и образования сообщения между
Ш.—полушлюз— м. б. применяема и как самостоятельное сооружение на внутренних водных п>тях, гл. обр. в деривационных каналах для защиты камерных Ш. от затопления высокими водами или для ремонта Ш.; кроме того полу-шлюз ^применяют и в судоходных каналах на случай аварии особенно ответственных участков этих каналов, имеющих высокие насыпи или крупные искусственные сооружения; кроме того их применяют в этих каналах для защиты от угона воды ветром и для удаления откладывающихся в каналах наносов посредством промывания водой. Первые полушлюзы называют предохранительными, вторые промывными. В зависимости от помещения Ш. в реке или в канале их называют р ечными или канальными. Один из примеров расположения камерного ΠΙ. — см. Гидроэлектрические станции, фигура 14. Если напор на III.
Фигура 1.
двумя водными пространствами, в которых должен быть постоянно или временно установлен различный уровень воды.
Ш. применяются гл. обр. для целей водного транспорта, а также и для мелиорации земель; первые называются камерными Ш., вторые Ш.-регуляторами. Ш., применяемые для водного транспорта, по их размерам и устройству значительно крупнее и сложнее применяемых для мелиорации земель. Ш., применяемые для внутреннего водного транспорта, употребляют для целей шлюзования рек, при устройстве каналов и для связи различных водоемов между собой, например портовых гаваней с водным путем. III., применяемые для морского транспорта, употребляются для двух последних целей. Шлюзы-регуляторы, применяемые для мелиорации, представляют собой водоподпорные сооружения, близкие по устройству к разборчатым плотинам (смотрите), закрываемым по преимуществу плоскими подъемными затворами, реже сегментными. Одна из главнейших частей камерного весьма значителен, то применяют Ш. особого типа, называемые ступенчатыми или многокамерными (смотрите Панамский канал, фигура 6), головы которых между камерами принадлежат двум смежным камерам, либо применяют Ш. шахтные (фигура 1), называемые так потому, что они имеют в нижней голове сплошную связь между стенами в виде поперечной стенки, называемой забральной. В нижней части ее устроено отверстие, служащее для прохода подвижного состава из нижнего бьефа в камеру или обратно. У нас многокамерные Ш. в числе 13 применены на Беломорско-Балтийском водном пути и при Днепровской гидростанции. Если через Ш. приходится пропускать исключительно большой грузооборот, преодолеть к-рый одним Ш. не оказывается возможным, то применяют несколько Ш. либо Ш. особого типа, вмещающие целый караван судов, а также Ш., состоящие из нескольких камер, располагаемых одна параллельно другой.
*8
Если вследствие каких-либо причин напор на шлюзы может менять направление, когда горизонт нижнего бьефа поднимается выше горизонта верхнего вследствие прохода в нижнем бьефе высоких паводков или вследствие приливов, то применяют шлюзы с двусторонним напором; в таких Ш. устраивают в каждой голове вместо одних ворот двое (фигура 2), из которых одни работают на напор в сторону одного
бьефа, а другие на напор в сторону другого, либо применяют ворота особой конструкции, допускающие действие напора с обеих сторон; щиты, закрывающие водопроводные галл ерей III. этого типа, устраивают также работающими на напор с обеих сторон.
Если во всех шлюзах системы имеется одинаковая высота падения, то при проходе судов через эту систему в расчет принимается лишь расход воды в верховом Ш., точно так же как потери воды через шлюзные ворота учитываются лишь по отношению к верховому Ш., имея в виду, что эта вода протекает через все нижележащие Ш. и питает таковые. Ш. с большей высотой падения больше расходуют воды и разность этого расхода по отношению других Ш. должна быть восполнена в вышерас-положенном участке водотока естественным путем или при помощи насосов. Ш. с меньшей высотой падения создают излишек воды в вышерасположенном участке водотока, причем этот излишек должен быть отведен в нижележащий участок водотока. При всем этом необходимо учесть также потери воды в самом водотоке вследствие испарения (смотрите) и просачивания (смотрите). Участки водотока, у которых уровень воды расположен ниже уровня подземных вод, питаются последними и могут иметь избыток воды, к-рый должен быть устранен.
При расположении Ш. в общей шлюзовой системе необходимо соблюсти условие, чтобы одно наполнение Ш. понизило уровень воды в верхнем бьефе не более 3—5 см. Этим требованием определяется расстояние между двумя соседними шлюзовыми устройствами. Расход воды при шлюзовании зависит от числа пропускаемых в течение суток судов, от способа шлюзования и от устройства III. Если обозначить через V объём воды в Ш. между верхним и нижним бьефами, через D—водоизмещение одного судна, то расход воды выразится величиной W —V ±D, причем знак+со ответствует подъему, а знак—опусканию судна. При поочередном подъеме и спуске потребуется наполнять камеру Ш. лишь один раз для обеих операций, и расход воды будет равен W=V, полагая водоизмещения обоих судов равными. Для определения общего расхода воды Ш. принимают, что половина или одна треть всех пропускаемых через последние в ту и другую сто рону судов встретится у Ш. При пропуске через Ш. сверху вниз t судов, снизу вверх Ь судов и при числе встреч к расход воды выразится величиной
W=(V-D)(t- 1с) + (V + Ώ)(Ь - к) +
+ Vic=V (ί + b - к) + D (b - t)=V(t + Ь - к).
Расход воды Ш. может быть уменьшен также применением особых водосберегательных камер. К определенному вышеуказанным способом расходу воды следует прибавить еще потери, происходящие через шлюзные ворота вследствие неплотностей в них. Этот дополнительный расход м. б. принят равным 5 л/ск на 1 метров высоты шлюзового падения.
Верховой участок канала должен быть по возможности так расположен, чтобы он питался водами, притекающими к нему с естественным падением. Наиболее целесообразно сооружать все Ш. одной системы с одной и той же высотой падения по причинам, рассмотренным выше. При расположении Ш. у плотин в местах поворота реки не следует Ш. сооружать у внутреннего берега, имея в виду передвижку большого количества песка здесь. С обоих концов Ш. устраивают предшлюзные гавани в виде расширенных участков канала на длину не менее наибольшей пропускной длины шлюза. В этих предшлюзных гаванях суда причаливаются в ожидании их пропуска через шлюз; причаливание должен быть такое, чтобы движение судов от места причала до шлюзной камеры происходило в прямолинейном направлении. Размеры камерного шлюза должны отвечать размерам наибольших пропускаемых через него судов с надбавками при канальных ΠΙ. 0,2—1,5 метров в ширину, 0,2 — 1,0 метров в глубину, 3,0 — 10,0 метров в длину, а при речных Ш. 0,2—1,5 метров в ширину, 0,3 — 1,0 метров в глубину и 4,0 — 10,0 метров в длину. Меньшие величины надбавок являются обязательными, а бблыние величины являются желательными в целях ускорения хода шлюзования.
Конструкция Ш. находится в тесной зависимости от материалов, из которых шлюз сооружается. В общем применение материалов и конструкций зависит от местных условий, от значения водного пути, интенсивности движения по нему судов, величины шлюза и от отпущенных на их постройку средств. Грунт, в котором предположено соорудить шлюз, должен быть самым тщательным образом во всех отношениях исследован, чтобы иметь возможность выбрать подходящий материал, отдавая при этом предпочтение местным материалам. Материалами для постройки шлюза служат главных образом естественные и искусственные камни, цемент, песок, щебень, дерево и сталь.
ДеревянныеШ. представляют собою первобытную форму Ш. Для укрепления подошвы Ш. применяют тот или иной тип ростверка (смотрите) в зависимости от местных условий. Против подмыва забивают поперечные шпунтовые стенки (смотрите), располагаемые перед верхней и нижней головными частями Ш. и под шлюзным порогом (дремпелем). Деревянный настил ростверка служит вместе с тем дном шлюзной камеры. Все части ростверка должен быть настолько прочно соединены между собой, чтобы они могли сопротивляться взвешивающему давлению воды. При расположении ростверка на сваях последние забивают в следующих местах в меньшем расстоянии друг от друга: вблизи бо-
новых стен, в головных частях Ш. и непосредственно позади дремпелей. На сваи насаживаются поперек оси Ш. основные балки (поперечины). При большой ширине Ш. поперечины стыкают, располагая стыки над р„ЯПря пп л-ь сваями, не по оси Ш„ а Р Ь - -
в шном порядке.
Половой настил (толщиной 8—12 см) должен иметь стыки на поперечинах. В уровень с

Бетон
Фигура За. половым настилом в расстоянии 1,5 метров друг от друга располагают продольные схватки толщиной 18—24 см, уложенные, как и доски полового настила, параллельно оси шлюза. При больших размерах продольных схваток и выпуске их сверх поверхности полового настила промежуток между схватками поверх пола заполняют каменной кладкой. При большом взвешивающем давлении половой настил крепят прижимными балками. Эти балки укладывают над поперечинами поверх пола, подводя концы их под боковые стенки и стягивая с поперечинами. Промежутки между прижимными балками поверх пола часто заполняют каменной кладкой at в уровень с поверхностью прижимных балок. Выравнивание пола каменной кладкой способствует сопротивлению настила взвешивающему давлению. В малых Ш. прижимные балки отсутствуют.
Шпунтовые стенки, защищающие Ш. от размыва грунта под ними, должен быть плотно соединены с ростверком. Эти поперечные (относительно оси Ш.) шпунтовые стенки удлиняют по обе стороны боковых стен Щ. в виде крыльев с более высоким расположением их верхнего края (фигура За и 36). Б. ч. поперечные шпунтовые стенки под дремпелями сооружают между двумя рядами свай (забивая сначала шпунтовую стенку, а затем указанные ряды свай) и сболчивают с основными поперечными балками для прочного соединения с ростверком. Все неплотности заполняются дубовыми клиньями. Свободно стоящие шпунтовые стенки скрепляются общей насадкой. Продольные шпунтовые стенки при свайном ростверке не являются необходимыми; потребность в них является при постройке Ш. в условиях сильного напора воды. При сильно пропускающем воду илистом или торфянистом грунте удаляют грунт под половым настилом на глубину 60 см, заменяя его глиной, тщательно и плотно утрамбованной и доведенной до нижней поверхности полового настила настоль-
Фигура 36.
ко, чтобы последний вплотную прилегал к глиняной постели (с заполнением глиной всех неплотностей в настиле). Глина должен быть однородного состава. Заполнение освобожденного пространства бетоном не достигает той же цели, а сухим щебнем и тому подобное. является вредным.
Особенно тщательно должен быть изготовлен дрем-пель (король), к-рый должен сопротивляться действию горизонтальных сил давления воды и образовать с затвором непроницаемое соединение. Дремпель состоит из нескольких дубовых брусьев, скрепленных между собою болтами и накладками (фигура 4). Обыкновенно дремпель лежит на половом настиле, возвышаясь над таковым в среднем на 40 см. При наличии прижимных балок располагают в воротных камерах на длину дремпеля поверх полового настила прижимные доски, пригоняя их вплотную одну к другой, и поверх их укладывают дремпель. Боковые стены Ш. конструируют по типу деревянных подпорных стенок. Стены эти должны иметь хорошие анкерные закрепления, чтобы они в полной мере могли сопротивляться действующим на них усилиям (горизонтальным давлениям земли и воды). В конструктивном отношении боковые стены должен быть так сделаны, чтобы они легко допускали смену деревянных частей, подверженных гниению (находящихся в переменных условиях в отношении их пребывания в воде). На фигуре За, 36 и 5 даны верхние головные части деревянных Ш.
ПолумассивныеШ. (фигура 6) отличаются от деревянных Ш. тем, что их боковые стены делаются массивными из каменной кладки или бетона. Полумассивные Ш. имеют обыкновенно ббльшие размеры и больший вес, чем деревянные, и сооружаются для большей высоты па
дения, а потому все составные части этих Ш. делают более солидными,чем у деревянных Ш. Свайный ростверк под боковыми стенами имеет более солидную кокструкцию. Чтобы придать этим стенам большую устойчивость, рекомендуется продольные схватки ростверка под стенами взять таких размеров, чтобы они возвышались над настилом ростверка на толщину одного или двух кирпичей; каменная кладка стен, начатая с настила, будет при этом иметь опору против бокового сдвига. При наличии прижимных балок таковые подводят приблизительно на 60 сантиметров под боковые стены. Если дремпель деревянный, то он заходит на столько же за внутренние поверхности боковых стен. Однако обыкновенно дремпель делают из камня. Часто
Разрез по а-b

Фигура 4.
половой настил ростверка перекрывают в пределах дна Ш. обратным сводом, способствующим устойчивости боковых стен Ш. В послед-
Фигура 6.
нем случае полумассивные Ш. приобретают характер массивных, причем конструкция стен первых почти ничем не отличается от таковой последних.
Массивные Ш. (фигура 7) имеют боковые стены и дно каменные (бетонные и железобетонные) и притом разнообразной конструкции. Напряжения, возникающие в стенах и дне Ш., зависят от указанных выше внешних сил и кроме того от конструктивных особенностей и от способа выполнения работ. Стены м. б. возведены во взаимной связи с дном или свободно соприкасаться с последним; стены м. б.
также построены независимо от дна. Во всех этих случаях в частях постройки будут возникать различные напряжения. Если между камерной стеной и дном шлюзной камеры имеется раздельный шов,то стена Ш. рассчитывается, как подпорная стенка (смотрите). Горизонтальный раздельный шов имеет место, когда камерные стены возводятся на .готовой плите, служащей дном камеры и основанием для ее стен. Более целесообразными являются вертикальный и наклонный раздельные швы. Первый применяется при одновременном сооружении стенок и дна, а второй в тех случаях, когда сначала бетонируют и засыпают камерные стены, а дно делают после того, как стены дали основную осадку. Косой раздельный шов препятствует подъему дна взвешивающим давлением при опорожненном Ш. При вертикальном раздельном шве дно Ш. должно быть настолько тяжелым, чтобы его вес в полной мере уравновешивал взвешивающее давление воды. По Франциусу при большой толщине камерного дна реакция грунта м. б. принята равномерно распределенной. При расчете рассматривают одну половину поперечной полосы Ш. в 1 метров ширины. Давление земли на стену Ш. принимается горизонтальным. При опорожненной камере на поперечное сечение Ш. будут действовать вес сооружения, реакция грунта и взвешивающее давление воды. При песчаном и гравелистом грунтах взвешивающее давление будет соответствовать той величине, которая определяется из условия полной высоты уровня подземных вод над подошвой котлована. При плотной скале или глинистом грунте и плотном прилегании дна Ш. к таковым взвешивающее давление будет меньше.
Взвешивающее давление заменяет собою реакцию грунта частично или полностью и учитывается лишь в размере, превышающем реак-цию грунта. Действующие на поперечное сечение Ш." при опорожненной камере вертикальные силы—вес G сооружения и давление Ώ грунта и воды на подошву Ш.—должны взаимно уравновешиваться. Горизонтальные силы, действующие на то же сечение Ш. (давление земли и подземных вод на стену Ш.), должны в свою очередь уравновешиваться некоторой силой Я. Когда камера заполнена водой, то к перечисленным силам присоединяются еще: давление воды на внутреннюю поверхность камерной стены и вес воды, которые должен быть также учтены при расчете. В зависимости от степени наполнения водой шлюзной камеры сила Я меняет свое положение, величину и знак. Когда на Ш. не действуют подземные воды и Ш. расположен на сжимаемом грунте, то при порожнем Ш. силу Я принимают приложенной в середи

не среднего шва шлюзного дна (фигура 8а). Давление на грунт х и (х+у) определяется из силового ур-ия:
ха + ^=Σ G
и моментного ур-ия:
bвb - ^ - f- - В {h —I)=0.
н
Давление в среднем шве в т/м2: σ =
Наи-
большее давление на грунт равно (х+у) т/м2, если все величины выражены в т и м. Распределение давления на шов LL выясняется из равенства (фигура 86):
Gfi·®—Н(Л-17)+Ае.
Если при тех же условиях, как в предыдущем примере, Ш. наполнен водой, то силу (Я — ТЕ) предполагают также приложенной в середине среднего шва шлюзного дна (фигура 8в). Напряже

ния получаются растягивающие или сжимающие в зависимости от того, получается ли величина (Я — ТЕ) меньшей или большей нуля. В остальном расчет идентичен с предыдущим. Когда Ш. подвержен действию подземных вод при полной пропускной способности грунта, то при порожнем Ш. (фигура 9а) давление на грунт в середине приравнивают полному напору подземной воды. Величина у определяется из равенства где все выражено в ш и м. Наибольшее давление на грунт равно (h+y) mfM2. Величина s найдется из выражения s · Я=2а G · г. В остальном расчет ведется, как выше. При тех же данных, как и в предыдущем примере, но при наполненном водою шлюзе (фигура 96), исходят из тех же предположений, как раньше; и здесь (Я—ТЕ) < или > 0. Если h > t, то (Я- ТЕ) > 0.
Когда внутри боковых стен ΙΠ. устраивают продольные каналы, то при расчете стены сначала выявляют распределение усилий в горизонтальном сечении непосредственно над каналом. Найденные усилия распределяют на обе части стены по бокам канала и доводят линии давлений до горизонтального сечения, совпадающего с низом обводного канала. В дальнейшем усилия, действующие на швы, определяют, как в нераздельной кладке. Этот способ неточен, но достаточно надежен. На фигуре 10а, 106, 10в и Юг изображены характерные конст
рукции поперечного сечения массивных Ш. Этими конструкциями не исчерпываются все возможности в отношении рационального проектирования шлюзных стен и дна.
Головные части всякого Ш. представляют собою по существу не что иное, как тип разбор-чатых плотин (смотрите), и потому эти части должны удовлетворять тем же условиям, какие предъявляются к этим плотинам. Одним из основных условий является защита от филътрации (смотрите) воды, что достигается соответственным уплотнением грунта. Если последний допускает забивку шпунтовых стенок, то сооружают тако-
вые. На дне головной части Ш. устраивают дремпель (шлюзный порог), служащий упором для затвора и уплотнением между ним и дном III. Дремпель располагают на уровне дна (но не выше) примыкающего русла канала или ниже; в последнем случае получается возможность

углубления канала без переделки головных частей шлюза. В верхней головной части дремпель расположен значительно выше дна шлюзной камеры.
В головных частях Ш. предусматривают устройства для наполнения и опорожнения шлюзной камеры. Наиболее старым и простым устройством являются клинкеты (фигура 11,а). От этого устройства в свое время отказались вследствие образования в камере сильных течений воды, представлявших затруднения при
шлюзовании. Но все другие устройства с уменьшением скорости притекания воды оказались дорогими, вследствие чего теперь опять возвра-
Фигура и. щаются к способу одностороннего наполнения и опорожнения шлюзной камеры; в виду этого клинкеты приобретают опять значение. Для закрытия отверстий в шлюзных воротах применяют обыкновенные задвижки, регистровые
или кулисные задвижки и вращающиеся клапаны. При других устройствах, в отличие от первого, наполнение и опорожнение шлюзной камеры происходят через обводные каналы, по к-рым вода пропускается сбоку шлюзных ворот или под ними. Простые обводные каналы (фигура 11,6 и в) оканчиваются непосредственно за шлюзными воротами и располагаются отверстиями друг против друга с целью погашения энергии изливающейся с двух противоположных сторон воды. В нек-рых других устройствах
для уничтожения энергии воды применяют успокоители в виде бассейнов, расположенных под дном затворной камеры (фигура 11, г, д и е). Наиболее спокойное наполнение и наименьшие продольные течения воды достигаются в тех устройствах, в которых вода притекает из отдельных выпусков, расположенных в стенах или в дне шлюзной камеры и соединенных с обвод
больших HL, где приходится считаться с временем, необходимым для наполнения водою шлюзных камер большого объёма. В качестве затворов обводных каналов, расположенных б. ч. в боковых стенах головных частей III., реже в их дне, применяют щитовые затворы, скользящие (при малых напорах) или катковые (при больших напорах, фигура 12), клапанные затворы в виде вращающихся клапанов (фигура 13), сегментные затворы (фигура 14). Для подъема и опускания затворов обводных каналов служат различные механизмы (фигура 12, 14, см. также Панамский канал, фигура 9), приводимые в движение от руки или электромоторами.
Когда вода отводится через вертикальную шахту, то применяют цилиндрич. затворы (фигура 15;. При большой глубине воды обыкновенные цилиндрич. затворы становятся тяжелыми, почему в этих случаях применяют укороченные цилиндрич. затворы. При Ш. с водосберегательными камерами применяют многоступенчатые цилиндрич. затворы. Помимо открытых цилиндрич. затворов имеют применение также закрытые цилиндрич. затворы (смотрите Панамский канал, фигура 10), занимающие мало места и устраняющие присасывание воздуха. На фигуре 16 изображен сифонный затвор. Эти затворы отличаются простотой обслуживания, отсутствием подвиж- ных частей и водонепроницаемо
стью. Вершина сифона может лежать выше или же ниже горизонта подпруживаемой воды. В первом случае сифон приводится в действие высасыванием из него воздуха; во втором случае действие сифона прекращается нагнетанием
Фигура 17а. фигура 176.
в него воздуха. Наполнение и опорожнение шлюзной камеры м. б. произведено также непосредственным опусканием или подъемом воротного затвора. Для указанной цели пригодны щитовые, сегментные и вальцовые затворы.
При таком способе наполнения и опорожнения шлюзной камеры следует обратить особое внимание на погашение энергии воды, чтобы течения воды в шлюзной камере не повредили суда.
На фигуре 17 а показано устройство верхней и нижней головных частей

Фигура 18.
Фигура 19.
Ш. для наполнения, а на фигуре 176 — для опорожнения шлюзной камеры посредством маниции с воротным затвором. Размеры устройств для наполнения и опорожнения III. за висят от величины шлюзной камеры и от требующегося срока выполнения этих операций. При определении времени наполнения Ш. принимают, что горизонт воды в Ш. повышается на 2-f-5 сантиметров в 1 ск. Время t, необходимое для наполнения шлюзной камеры при расположении
отверстий наполнительных каналов под водою, определяется из выражения £ _ 2Fh
μίΥζgh *
где F—площадь основания шлюзной камеры в м2, h—высота падения воды Ш. в м, f—площадь сечения отверстий в м2, μ—коэф. расхода: для остроконечных отверстий μ ^ 0,60, для закругленных отверстий μ= 0,80-7-0,90. Для коротких обводных каналов применяется та же

i СО (г----
Фигура 21. Фигура 22.
ф-ла, но μ=0,4 -f- 0,5. Длинные обводные каналы рассчитываются, как обыкновенные каналы или трубопроводы (смотрите). Практич. отношение у =200-7-250. Если ц. т. отверстия наполнительного канала находится на высоте ht над уровнем воды в шлюзной камере, то время наполнения t± до этой точки определится и в уравнения
и = Fhx__
1 μf Ylg (h — hi)·
а остальное время найдется из выражения
19= ^F(h-hx) _
2 V-iglh-hT)
Из этих ур-ий м. б. определена при заданном времени наполнения величина f. При наличии выпусков (выпускных каналов) из обводных каналов этим выпускам дают общее сечение 1,5 f
z
G-A
| Z | ^- | |
| 1 | i | |
| 1 | ||
р Фигура 24.
при сечении f обводного канала. Воротные затворы следует открывать, когда разность уровней в верхнем бьефе и в камере Ш. будет равна 0,1—0,2 м, чтобы тем самым ускорить наполнение шлюзной камеры, имея в виду, что в конце этой операции наполнение происходит очень медленно по сравнению с притоком воды в шлюзную камеру в начале. Для вычисления времени опорожнения имеют силу те же ф-лы, которые определяют время наполнения шлюзной камеры. Для опорожнения допускается более быстрое понижение горизонта воды, чем при наполнении, т. к. вредных течений в шлюзной камере при этом не происходит.
Воротные затворы Ш. (шлюзные ворота) применяют различных систем. Наиболее
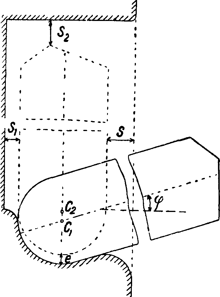
створчатые, откидные, раздвижные, сегментные, вальцовые и подъ-Разрез по с -с ___ емные. Створча-
тые ворота состо---3,53-—; ЯТ из двух крыльев, соприкасаю-фиг* 25* щихся между со бой вертикальными сторонами и прилегающих внизу к дремпелю. Ворота вращаются в верхней при приблизительном эксцентриситете е=2 см. Ниша для помещения одного крыла ворот должна иметь размеры, при которых свободные расстояния между полотнищами ворот и нишей были бы равны: s=5 -f-10 см,=5 -f- 6 см, s2== 10 см. Угол φ между горизонтальной осью крыла и нормалью к оси Ш. берется равным ок. 2272°· Давление воды через посредство обшивки передается на ригели, которые вместе с вертикальными стойками и диагоналями образуют остов воротных крыльев. Ригели так распределяют, чтобы они несли одну и ту же нагрузку, что достигается их расположением книзу на более близком расстоянии друг от друга. Ворота делают высотой, на 0,20 метров превышающей наиболее высокий уровень вод во время судоходства. Высота прилегания ворот к дремпелю равна~0,30 .м. Уплотнение у дремпеля делается эластичным (фигура 19), в остальных местах— при помощи деревянных брусьев. Ворота приводятся в движение посредством поворотного механизма, движимого от руки или электромотором (смотрите Панамский канал, фигура 16). Время для открытия ворот назначается 30—60 ск. Ригель подвержен изгибу и распору. Полное напряжение, испытываемое ригелем, будет (фигура 20):
pii pi
8W 2F tg φ ’
где W—модуль (момент) сопротивления поперечного сечения ригеля, F—площадь поперечного сечения ригеля; p=bhy: γ—уд. в воды. Если ригель имеет форму по фигура 21, то полезное поперечное сечение, работающее на распор, будет наименьшее. Тогда
_ pl pis pi _
σ ~ 8W 2W tg φ 4Ftg<p ~
= PIi i Pi (J_ __ s
8W 2 tgq> 2F W)


(шейной) и нижней (пятовой) опорных частях. В простых деревянных воротах часто крылья опираются при помощи поворотных столбов, расположенных эксцентрично в нишах (фигура 18)
Опорные давления на стену (фигура 22): V=pi cos φ,
VI COS φ - HI sin φ -=0.
Отсюда:
Η=-4^- (COS2 φ βΐηφ Ύ
(cos2 φ - ·
При φ=45° величина Η=0. Изпрактич. соображений берут tg φ в пределах 0,2 < tg φ < 0,4;
в среднем tg φ=|. Если створчатые шлюзные ворота открыты (фигура 23)



Фигура 28.
чего верхнее анкерное закрепление должен быть расположено возможно высоко. Напряжение в тяже
D=-?—
2 sm β
Расчет ведут на наибольшее G, не учитывая потерю веса в воде. Учитывая взвешивающее давление А воды на ворота, получим выражение (фигура 24):
_ Gr · Q — А · О,
h
При движении створчатых шлюзных ворот растягивающее усилие К (в килограммах) по Ландсбергу:
к=^ [1(ЗР1 + 2Р,) +
+ μ (Gd + 2Zd1)], где l—ширина одного полотнища ворот в м ,P1-=7bFv2 (гидравлическое давление в килограммах), Р2=1 000 FA (гидростатич. давление в килограммах),
Δ—разность уровней воды впереди и позади движущихся полотнищ шлюзных ворот, F—погруженная в воду площадь этого полотнища в м2, v — скорость движения шлюзных ворот в рас-
I
стоянии - от оси вращения в м,
G — собственный вес шлюзных ворот в килограммах, Z — действующая в воротных цапфах горизонтальная сила в килограммах, d—диам. нижней (пятовой) цапфы в м, dx—диам. верхней (шейной) цапфы в м, μ^0,4(κο3φ. трения в цапфах), а—расстояние точки приложения усилия К от оси вращения в м, φ—угол, образуемый направлением усилия К с нормалью к поверхности шлюзных ворот. Створчатые шлюз ные ворота должен быть спроектированы так, чтобы при полуоткрытых воротах было φ=0. В отличие от рассмотренных ригельных ворот имеются ворота, у которых давление воды передается не на ригели, а на стойки. Последние связываются двумя ригелями, которые передают давления в воротные ниши. На фигуре 25 показано одно крыло деревянных створчатых ворот. Одну из конструкций стальных створных ворот см. Панамский канал.
Откидные шлюзные ворота представляют собой щит, вращающийся на горизонтальной оси. На фигуре 26 изображен один из типов деревянных откидных шлюзных ворот, а на фигуре 27— откидные ворота из стали. Остов откидных шлюзных ворот состоит из двух или более горизонтальных ригелей, соединенных между собой вертикальными стойками. Эта система стержней остова обшивается с двух сторон деревом в деревянных воротах или листовой сталью в стальных воротах. Пространство между двумя обшивками деревянных откидных ворот заполнено частично камнем для получения надлежащего наклона (ок. 710) ворот. В стальных откидных воротах устраивают воздушные ящики. Ворота приводятся в движение посредством подъемного механизма. При движении откидных шлюзных ворот наибольшая подъемная сила получится в начале закрытия их; эта сила
К =
а I Sin a COS β
где Р=75Fv2; остальные величины, как выше.
Раздвижные шлюзные ворота представляют собой ящикообразные щиты, передвигаемые для открывания по горизонтальным направляющим в глубокие ниши. Последние примыкают к головным частям Ш. с береговой стороны. Остов раздвижных шлюзных ворот состо-
по d-d
Фигура 29.
ит из системы ригелей и вертикальных связей. Остов обшит с двух сторон и образует вместе с окружающими его со всех сторон водонепроницаемыми оболочками щит, внутри которого (на всю длину ворот) расположены воздушные ящики. На фигуре 28 показано общее расположение раздвижных шлюзных ворот в головных частях ΠΙ. и шандорных затворов (показаны пунктиром). Конструкция раздвижных ворот видна
| "ТГ ” | ||
| I TJ. 1 | ||
| ° | _. |
на фигура 29. На фигуре 30 изображен шандорный затвор. Фигура 31 показывает раздвижные шлюзные ворота, подвешенные на канатах и пере

двигаемые посредством., крановых^ тележек, перемещающихся по расположенному над воротами помосту.
Сегментные шлюзные ворота в отношении своей конструкции идентичны с сегментными затворами разборчатых плотин. Сегментные шлюзные ворота должны быть приспособлены к
открытью всего пролета для пропуска судов. На фигуре 32 представлены сегментные шлюзные ворота (а—разрез через воротную камеру при открытых воротах, b — разрез через шлюзную камеру при закрытых воротах).
Вальцовые шлюзные ворота по существу ничем не отличаются от вальцовых затворов разборчатых плотин. Подобно сегментным затворам они преимущественно применяются для шлюзования верхней головной части ТТТ Подъемные ворота употребляются гл. обр. в нижних головных частях шахтных Ш. В конструктивном отношении эти ворота сходны с простыми щитовыми затворами. Ворота передвигаются на роликах по рельсам, расположенным в стенных нишах. Подъем частично уравновешенных противовесами ворот совершается посредством проволочных канатов. От возмож ных повреждений судами ворота защищаются пловучими бревнами. При подъеме ворот таковые поднимают с собой и пловучие бревна, в виду чего освобождается весь пролет. На фигуре 33 показаны подъемные ворота, установленные в нижней головной части шахтного шлюза.
Приспособления для сбережения воды в Ш. представляют собою запасные камеры (резервуары), располагаемые сбоку Ш. и заполняемые шлюзной водой. Потребность в таких водосберегательных камерах особенно остро ощущается с большой высотой падения, обусловливающей большой расход воды. На фигуре 34 показан схематически шлюз с двумя водосберегательными камерами. При опорожнении шлюза вода слоя I переливается в камеру 1>
в Ш.
а вода слоя 11— в камеру 2; вода же нижележащих слоев 111 и IV спускается в нижний бьеф. При наполнении III. запас воды в водо сберегательных камерах заполняет слои 111 и IV, а слои 1 и II получают воду из верхнего бьефа. При равных слоях I—IV в данном случае получается экономия воды на 50%. Эконо-
шлюпки
ώυν
мия увеличивается с увеличением числа водосберегательных камер и увеличением поверхностей воды в последних. Фигура 35 изображает схематически Ш. с четырьмя водосберегательными камерами. При равной длине шлюзной и водосберегательных камер и при &=— будет h °1
также к=где b—ширина водосберегатель ных камер, Ьх—ширина Ш., h—полезная высота воды в водосберегательных камерах, — высота слоя воды в

Фигура 34.
Фигура 35.
III. Толщина х слоя воды, потерянного при каждом шлюзовании, определится из выражения
_ (fe4-l)H4-2snfe Х~ fc(n+l) + l ’
где Я—высота падения, s—разность уровней воды в шлюзной и водосберегательной камерах, при достижении которой наполнение и опорожнение водосберегательной камеры прекращаются для сокращения времени шлюзования, п — число водосберегательных камер, причем тг=l-f-З при падениях до Я=6 метров и n=3-f-5; при больших падениях k=0,5-уЗ,0, $ =
=0,10-М), 15 м; Франциус рекомендует работать с 5=0 или при очень малом значении этой величины, например s=5 см. Отношение х к Н выразится величиной
„,
H h (τι —f— 1) -f-1
Экономия благодаря применению п водосберегательных камер получится равной пй(1-|)
V (n+l)ft+l
На фигуре 36 показан в плане и разрезах экономичный Ш. с водосберегательными камерами.
Шлюзы Д. б. СНабже- Фигура 36.
ны соответственным оборудованием, способствующим сокращению времени прохода судов через Ш. К такому оборудованию относятся: крановые тележки, брашпили, битенги, стационарные корабельные кресты,заделываемые в шлюзные стены в расстоянии 20 метров друг от друга по отношению к вертикальным рядам и в расстоянии 2 метров по отношению к горизонтальным линиям; пловучие корабельные кресты, передвигающиеся в стенных шахтах, кранцы, стремянки, заделываемые в стен ных нишах, и прочие Установку и заделку всего оборудования следует так производить, чтобы не было внутри шлюзной камеры выступов, могущих препятствовать движению судов, а тем более причинить им повреждения. В пред-шлюзных гаванях при большом движении судов стены канала следует делать вертикальными. При откосах необходимо сооружать направляющие стенки или свайные кусты с пловучими бревнами между ними. Разнообразие конструкций этих направляющих стенок вызывалось местными условиями. Для защиты судов от ветра по обеим сторонам предшлюзных гаваней разводят древесные насаждения.
Лит.: Брилинг С., Формулы и таблицы для расчета инженерных конструкций, ч. 2, 3 изд., М., 19 31; Курс внутренних водных * сообщений, т. 2, под ред. К. Акулова, М.—Л., 1928; П о д а р е в Н., Гидротехнические сооружения, М., 1924; Brennecke L., Die Schiffsschleusen, Handb. Dig. Wis., T. 3, B. 8; Engelhard Fr., Kanal- u. Schleusenbau, B., 1921; Brenneck e-L о h m e у e r, Der Grundbau, W., 1932; Franzius O., Der Grundbau, B., 1927; F r a n-z i u s O., Der Verkehrswasserbau, B., 1927; S c h o-klitsch A., Der Wasserbau, B. 2, W., 1930; Engels H., llandb. des Wasserbaues, B. 1—2, 3 Aufl.,Lpz., 1923; Freund A., Anwendung d. Elastizitatstheorie auf elastisch gestiitzte Korper, B., 1913; Brugsch L. u. В riske R., Einfluss d. Nachgiebigkeit des Baugrun-des auf die Berechnung ausserlich statisch unbestimmter Bauwerke, «B. u. E.», 1914; F r a n z i u s O., Ueber die Berechnung von Trockendocks, «Zischr. f. Bauwesen», В., 1908, В. 58; Franzius О., Ueber die Grosse des Auftriebes unter Pfeilern u. Ufernnuern, «Zentralblatt d. Bauverwaltung», B., 1912, B. 32; К г e у H., Neuere Ver-suche fur Schiffsschleusen, ibid., 1914, B. 34; Mattern E., Standsicherheitsfragen fur hohe Gefalle, ibid., 1919, B. 39; F r o h 1 i c h O., Berechnung von Fundamenten unter Berucksichtigung d. Elastizitat des Baugrundes, «B. u. E.», 1913, B. 12; S c h a p e r, Auftrieb unter der Grundsohle von Bauwerken, die in Wasser gegrundet sind, «Zentralblatt d. Bauverw.», B., 1916, B. 36; Burk-hardt, Schleusen ohne Umlaufe, «Die Bautechnik», B., 1927, B. 5; Oppermann A., Die Nassbagerarbeiten fiir die Nordschleusenanlage in Bremerhaven, ibid., 19 31, H. 38; Stecher, Schiffahrtschleusen im Bergbaugebiet, «Deutsches Bauwesen», B., 1925, H. 14; D e t t m e r s, Grosse Hafenschleuse zu Harburg-Wilhelmsburg, «Bautech nik», B., 19 32, Heft 34;Paxmann W·, Allgemeine Gesichtspunkte fiir das Entwerfen von Binnenschiffs-schleuseh, ibid., 1932, H. 26; B u r c k a s E., Die Be-tonierungsanlagen fiir die Nordschleuse in Bremerhafen, ibidem, 1931, H. 32—34; O t t о W, Die Untersuchung des Baugrundes u. die Wasserhaltung fiir den Bau d. Nordschleusenanlage in Bremerhafen, ibid., 1932. H. 27, 28; M i s t о 1 G., Die Leistungsfahigkeit von Fluss- u. Ka-nalschleusen, ibid., 1932, H. 16, 17; Prussmann, Schleusen u. Nebenwerke, «Ztschr. f. Bauwesen», B., 1905, 7 — 9; Prussmann, Sparbecken fiir Steile Schleusentreppen mit kurzen Haltungen, «Zentralbl. d. Bauverw.», B., 1906; Gottschke, Wasserhaltungsar-beiten fur den Bau von Briickenwiderlagern u. Schleusen, «Bautechnik», В., 1926. С. Брилинг.
.ШЛЮПКИ судовые, гребные, мелкие моторные и паровые суда во флоте. Ш. коммерческого флота предназначены для спасания людей, различных судовых работ и сообщения с берегом. Ш. военного флота кроме упомянутого служат для обучения гребле и хождению под парусами и для десантных операций. Все судовые Ш. должны быть прочными, легкими, поместительными, удобными для обращения и мореходными. По назначению Ш. делятся на: а) спасательные, б) спасательные облегченные, в) рабочие, г) разъездные и д) военные. После гибели громадного парохода «Титаник» на Международной конференции по охране людей на море 1914 г. были выработаны правила под девизом «места на шлюпках для всех людей, находящихся на судне». Количество Ш. и их вместимость определяются по табл. 1.
Спасательные ΙΠ. (СШ), принятые в СССР для судов заграничного плавания, удовлетворяют всем правилам Англ, департамента торговли (Board of Trade). Вместимость Ш. V определяется по формуле L B H-0,6=V. Число
Таблица 1.-
-Число и кубатура Ш. для коммерческих судов.
| Вместимость судна брутто, т | *1 | *2 | Вместимость судна брутто, т | *1 | *2 | |||
| до — | 250 | 2 | 6 | 16 200—16 900 | 8 | 104 | ||
| 250— | 500 | 2 | 7 | 16 900—17 300 | 10 | 111 | ||
| 500— | 800 | 2 | 8,5 | 17 800—18 300 | 10 | 114 | ||
| 800— | 1 | 100 | 2 | 9 | 18 300—19 000 | 10 | 117 | |
| 1 | 100— | 1 | 400 | 2 | И | 19 000—19 700 | 10 | 120 |
| 1 | ico— | 1 | 700 | 3 | 17 | 19 700—20 400 | 10 | 123 |
| 1 | 7 СО— | 2 | 000 | 3 | 21 | 20 4С0—21 100 | 10 | 126 |
| 2 | 000— | 2 | 300 | 4 | 23 | 21 100—21 800 | 10 | 129 |
| 2 | 300— | 2 | 600 | 4 | 26 | 21 800—22 500 | 10 | 132 |
| 2 | 600— | 2 | 900 | 4 | 29 | 22 500—24 000 | 12 | 140 |
| 2 | 900— | 3 | 600 | 4 | 35 | 24 000—25 500 | 12 | 144 |
| 3 | 800— | 4 | зсо | 4 | 42 | 25 500—27 000 | 12 | 148 |
| 4 | ЗОО- | 5 | 000 | 4 | 48 | 27 000—28 500 | 14 | 152 |
| 5 | ООО— | 5 | 700 | 4 | 49 | 28 500—30 000 | 14 | 156 |
| 5 | 700— | 6 | 400 | 1 | 52 | 30 000—31 500 | 14 | 160 |
| 6 | 400— | 7 | 100 | 4 | 55 | 31 500—33 000 | 14 | 164 |
| 7 | 100— | 7 | 800 | 4 | 58 | 33 000—34 500 | 14 | 168 |
| 7 | 800— | 8 | 500 | 4 | 61 | 34 5С0—36 000 | 14 | 172 |
| 8 | 500— | 9 | 200 | 6 | 67 | 36 000—37 500 | 14 | 180 |
| 9 | 200— | 9 | 900 | 6 | 70 | 37 500—39 000 | 14 | 188 |
| 9 | ьос— | 10 | 600 | 6 | 73 | 39 000—10 500 | 14 | 196 |
| 10 | 600- | 11 | зсо | 6 | 73 | 40 500—42 000 | 14 | 204 |
| 11 | 300— | 12 | 000 | 6 | 79 | 42 000—43 500 | 14 | 212 |
| 12 | 0)0- | 12 | 700 | 6 | 82 | 43 500—45 000 | 14 | 220 |
| 12 | 700—13 | 400 | 6 | 85 | 45 000—46 500 | 18 | 228 | |
| 13 | 400—14 | 100 | 8 | 92 | 46 500—48 000 | 16 | 236 | |
| 14 | 100—14 | 800 | 8 | 95 | 48 000—50 000 | 16 | 244 | |
| 14 | 800— | 15 | 500 | 8 | 98 | более 50 ооо | *3 | *3 |
| 15 | 500—16 | 200 | 8 | 101 | ||||
|
*1 Минимальное число Ш. на судне. *2 Минимальная кубатура Ш в ж3. *3 Соответственно числу людей по 0,283 ж3 на человека. | ||||||||
пассажиров получится от деления V на 0,283 ж3. Соотношение линейных величин Ш. L, В и Н строго определено правилами обмера. Правила обмера спасательных Ш. класса I А указаны на фигуре 1. Длина L берется от и до конца обшивки вверху шпунта обоих штевней или от наружной кромки шпунта форштевня до наружного края транца. Ширина В берется в самом широком месте Ш. до наружного края об-
дартизованы девять типов спасательных Ш.; основные данные приведены в таблице 2.
Из приведенных в стандарте спасательные Ш длиною 5 ж очень малы, а 8,5 ж и более чересчур громоздки и потому на судах Совторгфлота не применяются. Спасательные Ш. делятся на следующие типы: 1) Ш. только с внутренним запасом пловучести, класса I А (класс Board of Trade). У них под бортовыми сиденьями ставятся воздушные ящики с кубатурой не менее
шивки. Ширина В у Ш. менее 7 ж длины должен быть не
L +2,135 ттт т->
менее —~—. Ширина В
у Ш. в 7 ж длины должен быть не менее 2,29 ж. Ширина В уШ. более 7ж длиныдолжен быть не менее —^—. Высота
В берется посредине длины L от внутренней стороны обшивки у киля до верхнего края привального бруса. Высота Ш. Я
должен быть не менее 0,36*
и не более 0,42 · L +.1,83«
Габаритные размеры Ьг, Вг, Вх представляют наибольшие размеры, зани ружным запасом пловучести; 3) понтонные Ш. со складными бортами; два последних типа применяются мало, а в СССР они совсем не применяются; 4) спасательные облегченные Ш. (СОШ) для судов внутреннего плавания; отличаются от класса I А более легкой постройкой. Число людей определяется из кубатуры Ш., деленной на 0,2265 ж3. Стандартизованы следующие типы облегченных спасательных и рабочих Ш.? приведенные в таблице 3.
Таблица 2. — Стандартные спасательные шлюпки.
| Основные данные | О б о з н | а ч е | н и е Ш. | ||||||
| 1 | 1 2 | 3 | 4 | 5 | 6 1 | 7 | 8 1 | 9 | |
| Регистровые Длина L, ж.. | 5,00 | 5,50 | 6,00 | 6,50 | 7,00 | 7,50 | 8,00 | 1
8,50 |
9,00 |
| Ширина В, метров. | 1,78 | 1,90 | 2,00 | 2,16 | 2,29 | 2,40 | 2,60 | 2,80 | 3,00 |
| Высота Я, ж.. | 0,70 | 0,74 | 0,80 | 0,85 | 0,90 | 1,00 | 1,05. | 1,10 | 1,15 |
| Габаритные | |||||||||
| Длина hit ж.. | 5,22 | 5,72 | 6,24 | 6,74 | 7,26 | 7,78 | 8,29 | 8,80 | 9,30 |
| Ширина Вг,м. | 1,81 | 1,94 | 2,04 | 2,19 | 2,32
1,38 |
2,44 | 2,64 | 2,95 | 3,15 |
| Высота Ят, ж. | 1,07 | 1,13 | 1,22 | 1,30 | 1,52 | 1,59 | 1,66 | 1,76 | |
| Кубатура, ж3, V=0,6xLx | |||||||||
| хвхн.. | 3,74 | 4,64 | 7,56 | 7,13 | 8,64 | 10,80 | 13,10 | 15,70 | 18,63 |
| „ У | |||||||||
| Количество людей ——.
О, ^оЗ |
13 | 16 | 20 | 25 | 30 | 38 | 46 | 55 | 66 |
| Приблизительный вес Ш., | |||||||||
| кг .. | 650 | 700 | 880 | 1 020 | 1 200 | 1 380 | 1 330 | 1 650 | 2 300 |
| Вес снабжения, кг. | 210 | 220 | 230 | 260 | 300 | 350 | 400 | 470 | 550 |
| Вес людей, кг. | 975 | 1 200 | 1 500 | 1 875 | 2 250 | 2 850 | 3 450 | 4 125 | 4 950 |
| Общий вес, кг. | 1 745 | 2 120 | 2 610 | 3 155 | 3 750 | 4 580 | 5 400 | 6 245 | 7 800 |
маемые шлюпкой в законченном виде вместе с наружными поковками. Размеры Я2, Я3, характеризующие полноту ватерлиний, берутся без обшивки на четверти длины Ш. в нос и корму по ватерлинии, проходящей на V2 и должен быть не менее 0,77% В. Размер А представляет величину развала борта в самом широком месте Ш. от ватерлинии, проходящей на 1/2Л, и должен быть не более 2% В. Подъем днища принимается 125 миллиметров на 1 метров (1/8). Средняя седло-ватость Ш. представляет разницу между высотой Я и полусуммой высот в конечных точках L и должен быть не менее 4%L.B настоящее время стан
СОШ допускаются в случае возможности размещения их на судах не выше 4,6 метров от уровня воды и при облегченном состоянии судна. Изготовление Ш. № 10 и 11 для морских судов не рекомендуется, как очень малых. На фигуре 2 дана спасательная III., имеющая следующие главные размеры: L=7,92 м, Я=2,36ж, Я=0,99 метров и кубатура F=ll,l м3, запасы пловучести 1,28 м3, в том числе в боковых воздушных ящиках 0,70 м3, в носовом и кормовом воздушных ящиках 0,30 ж3, в пробковом поясе 0,28 ж3.
Рабочие Ш. (РШ) делаются транцевыми для удобства работы на них; бортовые си-
Таблица 3.—G т а п д a ρ т н ы e облегченные шлюпки.
| Основные данные | О б | О 3 н | а ч е н | и е Ш. | |||||
| ь*
о * |
11*1 | 12*2 | 13*^ 1 | 14*2 | 15*3 | 1 16*3 | 17*3 | 18*3 | |
| Регистровые | |||||||||
| Длина L, м.. | 4,00
1,55 |
4,50 | 5,00 | 5,50 | 6,00
1,95 |
4,50 | 5,00 | 5,50 | 6,00 |
| Ширина В, метров. | 1,65 | 1,75 | 1,85 | 1,65
0,65 |
1,75 | 1,85 | 1,95 | ||
| Высота Н, метров. | 0,63 | 0,66 | 0,69 | 0,72 | 0,75 | 0,69 | 0,72 | 0,75 | |
| Габаритные | |||||||||
| Длина I*!, м.. | 4,10
1,61 |
4,60 | 5,20 | 5,70 | 6,20 | 4,60 | 5,10 | 5,60
1,91 |
6,10 |
| Ширина Вх, метров. | 1,71 | 1,81 | 1,91 | 2,01 | 1,71
1,02 |
1,81 | 2,01 | ||
| Высота Hi, метров. | 0,99 | 1,02 | 1,06 | 1,10
4,40 | 1,14
5,26 |
1,06 | 1,10 | 1,14 | |
| Кубатура, м3. | 2,34 | 2,94 | 3,62 | 2,94 | 3,62 | 4,40 | 5,26 | ||
| Количество людей.. | 10 | 13 | 16 | 19 | 23 | 8 | 10 | 12 | 16 |
| Приблизит, вес шлюпки, кг | 270 | 340 | 420 | 510 | 610 | 300 | 370 | 450 | 540 |
| Вес снабжения, кг. | 150 | 160 | 170 | 180 | 190 | 140 | 140 | 150 | 150 |
| Вес людей, кг. | 750 | 975 | 1 200 | 1 425 | 1 725 | 600 | 750 | 900 | 1 200 |
| Общий вес, кг. | 1 170 | 1 475 | 1 790 | 2 115 | 2 525 | 1 040 | 1 260 | 1 500 | 1 890 |
*ι Спасательные транцевые. *2 Спасательные вельботные. *3 Рабочие транцевые.
Таблица 4.—С танцартные спасательные моторные Ш. без радио.
| Основные данные | Обозначение Ш. | Основные данные | Обозначение Ш. | ||||||
| 19 | 1 20 | 21 | 22 | 19 | 20 1 | 21 | 22 | ||
| Регистровые | Веса, кг | 1 | |||||||
| Длина L, м..
Ширина В, м.. Высота Н, м.. |
8
2,6 |
8.5
2.6 |
9
2,7 |
9,5
2,8 |
снабжения..
людей.. |
650 2 550 | 655 2 925 | 660 3 450 | 670 3 750 |
| 1,16 | 1,16 | 1,22 | 1,22 | общий.. | 5 600 | 6 200 | 7 100 | 7 700 | |
| Габаритные | Характеристика мо | ||||||||
| Длина Li, м.. | 8,25 | 8,75 | 9,25 | 9,75* | тора;
Мощность, IP.. | 16—18 | 20—25 | 30 | 35 |
| Ширина Вх, м.. | 2,75 | 2,75 | 2,85 | 2,95 | |||||
| Высота Ηχ, м.. | 1,75 | 1,75 | 1,88 | 1,9* | Система.. | Четырехтактные | |||
| Количество людей. | 34 | 39 | 46 | 50 | Число об/м.. | -ЭОО | |||
| Веса, кг | Топливо .. | Пуск на бензине. Работа на керосине | |||||||
| корпуса шлюпки. | 1 700 | 1 800 | 1 900 | 2 000 | Скорость, узлы. | -7 | |||
| мотора и принадлежностей. | 600 | 700 | 9 Ю | 1 100 | Продолжительность полного | ||||
| топлива и баков. | 100 | 120 | 150 | 180 | хода, ч.. | 15 | |||
* Без руля. денья имеются только на корме, воздушными ящиками они обыкновенно не снабжаются. На РШ количество людей определяется не по
Фигура 2.
объёму Ш., а по числу мест на банках. Военные Ш. (ВШ) для разъездов делаются более легкими, часто с острой кормой (вельботы). СШ, кроме облегченных, снабжаются парусами.
Ш. моторные. Паровые Ш. в коммерческом флоте в настоящее время не применяются. Моторные спасательные HI. в СССР стандартизованы; основные данные стандартных Ш. приведены в таблице 4. Моторные разъездные Ш. пока в СССР не регламентированы и почти не применяются на судах Совторгфлота. За границей типы моторных судовых Ш. очень разнообразны. Размеры колеблются в широких пределах 2,8—7 метров Моторные-Hi. большей длины обыкновенно делаются спасательными.
В военном флоте применяются следующие типы гребных парусных HI.: 1) Баркасы—
большие, тяжелые, широкие Ш. для перевозок грузов, людей и для десанта, снабжаются иногда пушкой. 2) Катера— более легкие, служат гл. обр. посылок и обучения краснофлотцев. 3) Вельботы — с острой кормой и распашными веслами, служат для разъездов. Спасательные вельботы снабжаются воздушными ящиками. 4) Ялы — малые гребные Ш. флота—для перевозок, мелкой работы и тому подобное.
5) Складные Ш. или парусники—самые малые IH. военного флота. На фигуре ЗА изображен теоретич. чертеж, ЗБ—практич. мидель, ЗВ— практич. бок и полуширота, ЗГ — общий чертеж и чертеж парусности военного баркаса разъездов,
001 0$
класса 0 герм, флота. Главные размеры этого I к которой крепятся доски обшивки. Ш п а н г о у баркаса указаны в таблице 5. Основные размеры Ш. | ты 5—ребра Ш., связывающие доски обшивш специального назначения приведены в таблице 6. между собой и с килем; верхняя часть шпан Военные паровые Ш. постепенно изгоняются | гоутов крепится к планширю 6, снаруж]

из употребления. В Германии на военных моторных шлюпках ставятся исключительно бес-компрессорные дизели, работающие на нефти. Всякие другие двигатели внутреннего сгорания (бензиновые, керосиновые и комбиниро-
к-рого набивается тонкий брусок—б у р т и к 7 Несколько выше ватерлинии шпангоуты скре пляются привальным брусом 8, идущт по борту изнутри Ш. от носа в корму; в пра вильный брус врезают скамейки для гребцов—
Таблица 5· — Гребные военные Ш. германского флота.
| Основные данные | Баркас *ι | Катер с выдвижным килем | Катер с выдвижным килем ** | Катер для миноносцев с выдвижным килем | Гиг“з | Вельбот | Ял для миноносцев |
| Длина L, м..
Ширина В, м.. |
14,00 | 10,00 | 8,50 | 7,50 | 10,00 | 6,50 | 3,84 |
| 3,60 | 2,50 | 2,10 | 2,04 | 1,90 | 1,90 | 1,288 | |
| Высота борта Н, м..
Площадь парусов, м%: |
1,19 | 0,92 | 0,82 | 0,77 | 0,77 | 0,80 | 0,474 |
| Грот.. | 46,55 | 22,76 | 16,19 | 19,20 | 17,88 | 12,56 | 7,15 |
| Бизань.. | — | 14,24 | 10,08 | __ | __ | ||
| Фок.. | 34,44 | — | — | 4,98 | 16,80 | 3,04 | _ |
| Кливер .. | 9,48 | 5,31 | 1 3,90 | __ | 4,80 | _ | |
| Общая.. | 90,47 | 42,31 | 30,17 | 24,14 | 39,40 | 15,60 | 7,15 |
| Вес порожнего корпуса, кг. | 3 560 | 1 320 | 1 120 | 923 · | 630 | 650 | 126 |
| Вес инвентаря, кг.. | 1 100 | 600 | 683 | 305 | 400 | 270 | 18 |
| Грузоподъемность, кг. | 8 250 | 3 750 | 2 625 | 2 100 | 1200 | 1 500 | 300 |
| Число людей.. | по | 50 | 35 | 28 | 16 | 20 | 3-4 |
*ι Класс 0. *2 Класс II. *з Класс I.
ванные) исключены. На фигуре 4А и 4Б изображены теоретич. чертежи, на 4В и 4Г—практич. чертежи моторного катера герм, флота класса А, снабженного бескомпрессорным двигателем
дизеля мощностью 100 ЬР. Основные данные этого катера вместе с данными катеров трех других классов приведены в таблице 7.
ΠΙ. состоит из следующих основных частей (фигура 5А и 5Б). Киль 1—основание шлюпки— продольный брус, идущий посредине Ш. внизу; с ним скрепляются все части набора. Форштевень 2—основной брус, завершающий Ш. в носу, плавно переходящий в киль. Ахтерштевень 3—то же в корме; переход к килю в большинстве Ш. под углом. Иногда ахтерштевень снабжается поперечной доской—т ранцем 4,
банки 9, прикрепляемые к соответственные шпангоутам железными угольниками—к н и-ц а м и 10—и поддерживаемые у широких ТТТ снизу пиллерсами или стойками 11
Таблица 6.—Основные данные Ш. специаль ного назначения.
| Тип | 1
Длина, м |
Ширина,
м |
Высота борта, м | Площ. парусов, М2 | Водоиз мещение,
т |
Полный вес Ш., кг |
| Баркасы: | ||||||
| 20-весельные. | 11,6 | 3,4 | 1,2 | 75,8 | 11,9 | 3 500 |
| 16-весельные. | 10,4 | 2,8 | 0,9 | 58,4 | 11,0 | 2 650 |
| Катера: | ||||||
| 14-весельные. | 9,8 | 2,5 | 0,8 | 50,8 | 4,8 | 1 35С |
| 12-веСельные. | 9,1 | 2,5 | 0,7 | 47,4 | 4,2 | 1 ООО |
| Вельботы: | ||||||
| 6-весельные. | 8,5 | 1,7 | 0,7 | 16,7 | 3,1 | • 500 |
| Ялы: | ||||||
| 6-весельные. | 6,1 | 1,8 | 0,7 | 20,6 | 2,4 | 55С |
| 4-весельные. | 5,2 | 1,5 | 0,6 | 10,0 | 1 1,0 | 35С |
| 2-весельные. | 3,6 | 1,2 | 0,5 | 7,0 | j 0,5 | 15С |
К ил ь с о н 12—продольный брус, накрывая щий сверху средние части шпангоутов и nept дающий набору сосредоточенные усилия ош рающихся на него мачты и стоек; для укрешн ния нижнего конца мачты на него наделывают j гоутам, а доски наборной и диагональной об-специальные гнезда—степсы 13. В корме Ш. | шивки также и между собой; лучший способ
устраивают кормовое сидение 14=, снабженное спинкой—з аспинной доской 15 сзади
Таблица 7. — Военные моторные Ш. германского флота.
| Основные данные | К л | асе | ||
| А | 1 с | I | III | |
| Длина L, метров. | 15,20 | 18,00 | 10,00 | 7,60 |
| Ширина В, метров.
Высота борта Н, м | 2,82
1,55 |
2,64 | 2,56 | 1,86 |
| 1,28 | 1,24 | 0,895 | ||
| Скорость в узлах. | 11 | 10 | 8,8 | 6,8 |
| Мощность мотора, IP. | 100 | 60 | 30 | 7 |
| Вес в килограммах | ||||
| корпуса. | 5 605 | 8 800 | 2 630 | 825 |
| инвентаря. | 580 | 405 | 405 I | 27 0 |
| мотора. | 4 215 | 2 845 | 1 401 | 530 |
| моторного инвентаря | 165 | 200 | 116 | 90 |
| горючего. | 510 | 460 | 150 | 35 |
| команды.
Запасное водоизмеще |
525 | 5г5 | 375 | 150 |
| ние. .. | — | — | 100 | 220 |
| Полный вес, кг. Цена (1928 год) в зол. | 11 600 | 8 235 | 5 180 | 2 120 |
| РУб.. | 26 500 | 22 000 | 14 500 | 6 700 |
крепления обшивки — на медных расклепанных гвоздях. Металлические детали, идущие на постройку I1L, носят название дельных вещей. К ним относятся: в о д о р е з—оковка форштевня; пятка ахтерштевня; подкиль-ная полоса киля; рым фалиня — кольцо, за которое привязывают причальный конец — фалинь (конец троса окружностью 60 — 100 миллиметров); рулевые навесы для подвешивания руля; уключины с гнездами; наметка 21 —откидная дужка, крепящая мачту в банке; кофельнагели 22 — штыри, втыкаемые в отверстия на мачтовой банке для завязывания фалов (веревок, поднимающих парус); утки 23 и крепительные планки — для задерживания шкотов (веревок для управления парусами); б р е ш т у к— угольник для скрепления штевней с бортами—
Фигура зг. кормового сидения по бортам устроены два с и-дения для рулевого 16. В носу на привальном брусе кладут решетчатый щит—н особой люк 17, а в корме такой же кормовой люк 18 кладут на днище. В средней части Ш. на днище кладут щиты, изготовленные из длинных продольных планок,—р ы б и-ны 19 (елань, тельгис), к которым прибивают поперечные бруски—у порки 20 для ног гребцов. Для выпуска воды из Ш., поднятой на шлюп-балке, в днище делают отверстие «пробку», закрываемое какой-либо водонепроницаемой крышкой.
Все основные брусья набора скрепляются между собой железными, обязательно оцинкованными, болтами. В V.-. -
том случае, если приходится их составлять из нескольких кусков, стыки брусьев соединяют замками. Обшивка вгладь (смотрите Суда гребные) крепится только к шпан-
и угольники (кницы) 10 на банках делаются металлические или деревянные; в ант-пут е н с ы 24- -планки или дужки щля,.лривя-
Т. Э. т. XXVI.
зывания вант [веревок для укрепления топа (верхушки) мачты к бортам]; степс 13—для укрепления шпора (низа) мачты на кильсоне; на военных Ш. степс делают деревянный с оковкой; галсов ый га к—крючок для закрепления нияшего переднего угла паруса к прокладкой прокрашенной парусины между слоями. Диагональную обшивку делают из тика, красного дерева и дуба. На баркасах и рабочих катерах обшивку делают вгладь, благодаря чему Ш. получаются тяжелее, но менее повреждаются при боковых ударах, т. к. не
2 4 6 8 10 12 14 16 18
Фигура 4А.
форштевню и мачте; подъемные гаки или рым ы—крюки или петли, служащие для подъема Ш. на судно и спуска ее на воду; ру м пел — рычаг для поворачивания руля.
Постройка Ш. Употребительным материалом служит дерево. Основной набор делается из твердых пород, чаще из дуба. На обшивку идет лиственница, сосна и на дорогих заграничных Ш.— тик и красное дерево. В Германии обшивку военных III. делают из дуба. Спасательные
Ш. СТрОЯТ ОСОбеННО Фигура 4Ь.
прочно: кильсон ставят на ребро и через 0,6 метров скрепляют с килем сквозными болтами; шпангоуты ставят через 150 миллиметров; обшивку проклепывают медными гвоздями через 75 миллиметров.
Рабочие шлюпки строят легче, равно как и спасательные облегченные III.
У них штевни и шпангоуты
имеют выступающих кромок наборной обшивки. Для придания Ш. поперечной крепости поперечные банки прочно скрепляют с бортами кницами на болтах. Штевни скрепляют при помощи книц с килем и кильсоном внизу; наверху их скрепляют брештуками с привальными брусьями. Форштевень оковывают водорезом. Для передвижения Ш. самым простым способом является гребля; весла применяют как распашные, так и вальковые (смотрите Суда, гребные). Распашные весла применяются на спасательных III. и вельботах военного флота, на всех остальных III. чаще всего ставят вальковые весла. На спасательных Ш. число действующих весел чаще 4, остальные запасные. Военные Ш. обозначаются по типу их и количеству весел, например 20-весельный баркас. Кроме весел все СШ и ВШ имеют паруса. Площадь парусов указана в таблице 5.
Все Ш. кроме весел и парусов должны иметь следующее снабжение: 1) СШ—отпорный крюк, фалинь длиной 40 м, рулевое весло, пловучий якорь, компас, фонарь, лейку, ведро, коробок спичек, фальшфейеры, по 1 килограмм сухарей на чело
Фигура 4В.
из дуба, остальные части—из сосны. На военных III. закладку делают дубовую, обшивку— из сосны, банки—из дуба или ясеня. Для легкости обшивку на Ш. делают часто наборной (клинкерной, или кромка на кромку). На дорогих Ш. обшивка диагональная: в 2 слоя досок с века, все в водонепроницаемых коробках и ящиках с герметическими крышками, анкерок или цистерну с пресной водой из расчета по 1 л на человека, по 2 топора; 2) СОШ—отпорный крюк, фалинь и лейку. Снабжение ВШ зависит от типа шлюпок.
Все судовые Ш. спускаются на воду и поднимаются на судно шлюпталями на шлюп-
ются с полным комплектом пассажиров и снабжения. Каждый подъемный гак должен^ поэтому выдерживать по правилам 1,25 полного ве
са всей Ш. без каких-либо видимых деформаций. При спуске Ш. на волнении важно отдать
10
шлюптали одновременно, в противном случае Ш. может повиснуть на одном гаке и все пассажиры вылетят за борт. Во избежание этого при меняются различные типы открывающихся одновременно механич. гаков“ Герм, нормали (HNA) рекомендуют 2 типа, применяющиеся у нас с удовлетворительными результатами, но требующие тщательных изготовления и установки. На судне Ш. ставятся на шлюпбло-ки, или рострблоки, и крепятся к палубе цепями и тросами (по-походному) с откидными крюками—г л а г о л ь-г а к а м и для быстрой отдачи. СШ по правилам должны кроме того висеть на шлюпталях, чтобы в любой момент быть спущенными на воду. По постановке на блоки Ш. накрываются деревянными или брезентовыми чехлами.
Лит.: Ш е д л и н г Ф., Постройка шлюпок, ч. 1, Гребные и парусные шлюпки, ч. 2, Моторные шлюпки, Л., 1930; Гельмер сен П., Морская практика, Л., 1924; Марков Е., Шлюпочное дело, М., 1932; Blocksid-ge W., Ship Boats, 1920; «Hutte», Bootsbau. Praktischer Schiffbau, bearb. v. A. Brix, 7 Aufl., B., 1929; Johow-Forster, Hilfsbuch f. d. Schiffbau, 5 Aufl., В. 1, B.,1928; Instructions as to the Survey of Life Saving Appliances, L., 1926; Schiffbau-Kalender, B., 1929. Ф. Шеллинг.
Ш IVI АЛЬТА, синяя краска, получаемая путем сплавления кобальтовых руд (т. н. ц а ф-фера, сафлора, шпейса) с поташом и кварцевым песком. Образующееся при сплавлении стекло—кремнекислая соль калия и кобальта K2C0Si04. Для ускорения работы стекло выливают тонкой струей в холодную воду, измельчают на мокрых мельницах и затем отмучивают. Ш. нерастворима в щелочах и холодных к-тах; постоянна к свету, атмосферным влияниям и нагреванию. Раньше употреблялась в больших количествах как масляная, известковая и водяная краска. В настоящее время в значительной степени вытеснена, с одной стороны, ультрамарином (смотрите), а, с другой,—более огнеупорной кобальтовой синью (смотрите Кобальтовые краски). Употребляется гл. обр. для получения голубых и синих тонов в живописи по фарфору.